Гарячі ванни та підйомники
Тарілки та підйомники для гарячої ванни Taisheng призначені для розміщення у всіх курортних приміщеннях. Під час підйому та опускання спа-салону вам легко допомогти газова пружина.
- Швидка доставка
- Гарантія якості
- Цілодобове обслуговування клієнтів
Введення продукту
ванни та підйомники
Тарілки та підйомники для гарячої ванни Taisheng призначені для розміщення у всіх курортних приміщеннях. Під час підйому та опускання спа-салону вам легко допомогти газова пружина. Ця модель важко не важка, але вона може триматись так важко, як 70 кілограмів. Його поверхня покрита міцною порошковим покриттям, завдяки яким вона досягає кращого іржавостного ефекту і продовжує його життя.
Параметр продукту:
Продукт | ванни та підйомники |
Покритий | Чорний порошок |
Матеріал | Алюміній |
Потужність підшипника | 70КГС |
Гарантія | 1 ~ 2 роки |
Модель | TS-05 |
Провідний час | 10 ~ 25 днів |
NW | 5 кг |
MOQ | 50 шт |
Упаковка | 5 шар K = K подвійна сильна коробка |
Особливості кришок і підйомників гарячої ванни TS-05
1. Газова пружина допомагає піднімати кришку
2. Виготовлений з алюмінію з покриттям порошком, щоб досягти кращого ефекту іржі
3. Світло ваги
4. Підходить для всіх квадратних гарячих ванн
Як може бути гвинтів, необхідних для монтажу кришок для гарячої ванни та ліфтів TS-05
Ось список гвинтів:
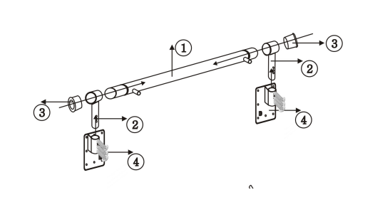
6 кроків для успішного монтажу кришок та підйомників гарячої ванни TS-05
1- й крок
Покладіть ② в положення ①, потім покладіть пластикову кришку ③ на положення ①② і зафіксуйте її.

2- й Крок
Після фіксації ①②③, вкладиш ② в отвір дошки на ④, потім закріпіть його 6 шт. Самонарізаного гвинта 4 * 15 мм.

3- й крок
Після установки ①②③④ матеріал. Покладіть трубку ① на той самий рівень поверхні SPA і закріпіть її 16 шт. Самонарізаних гвинтів 4 * 15 мм.

4- й крок
Вставте трубку ⑤ у трубку ⑥, потім зафіксуйте її 16 шт. Самонарізаних гвинтів 4 * 15 мм. Потім покладіть пневматичне сопло з ⑦ у положення ⑥, потім закріпіть його 2 шматочками гвинта 8 * 40 мм із гвинтовою кришкою.

5- й крок
Після встановлення ⑤⑥⑦, вставте його в трубку ① та закріпіть його 4 шматочками самонарізаних гвинтів 4 * 15 мм. Потім підключіть пневматичну лінію сопла ⑦ до дошки ④ та зафіксуйте її 2 шматочками 8 * 40 мм із гвинтами.
6- й крок
Положення про встановлення на СПА полягає в наступному:

Запитання та відповіді
1. Який матеріал вашої спальні лебідки?
Алюмінієвий сплав
2. Чи матеріал іржавий?
Не, це іржі, тому що це з алюмінію.
3. Яку гарантію ви пропонуєте?
Ми пропонуємо 1 - 2 роки для підйомників.
4. Як щодо МОП спасателей?
50 шт
5. Не могли б ви запропонувати нам зразки?
Так
Популярні Мітки: гарячі ванни та виробники ліфтів Китай, постачальники, фабрики, купують, знижки, ціни, високоякісні, ASTM, продукти











